Čerpadlo s flexibilným obežným kolesom IMPELLER PUMP, FLEXIBLE IMPELLER PUMP
Naša spoločnosť má 20 ročné skúsenosti vo výrobe zariadení. Nádrže sú jednou z oblastí, v ktorých naši dizajnér iprekračujú všetky očakávania. Vo výrobe skladovacieho zariadenia, používame len najkvalitnejšie materiály, vyrobené v Európe, a venujeme osobitnú pozornosť zavádzaniu inovatívnych technológií. Môžeme Vám ponúknuť ľubovoľný objem nádrže konštrukciu, tvary podľa Vášho výberu.
pompa z elastycznym wirnikiem
pump with flexible impeller
Čerpadlo alebo pumpa je zariadenie, ktoré dodáva kinetickú energiu tekutine, ktorá cez čerpadlo preteká. Čerpadlo slúži na prepravu tekutých alebo plynných látok. V princípe využíva podtlak na vstupe a následne pretlak na výstupe.
Určenie:
Je určené pre čerpanie kvapalných, ale aj hustých látok a produktov s obsahom drobných čiastočiek. Na princípe objemového čerpadla sa môže použiť aj ako dávkovač.
- vinárstvo ( víno, hroznová šťava, mušt, nápoje, jablčný ocot, alkohol, atď)
- Potravinársky priemysel ( pivo, džúsy, nektár, ovocné pasty a šťavy, med, tekutý cukor, sirupy, glukózy, mlieko, tekuté maslo, jogurt, kefír, srvátka, vaječná hmota, olej, horčica, ocot, majonéza, paradajkový pretlak, kečup a šťavy, džemy, smotana, atď )
- Chemický priemysel ( tekuté lepidlá, emulzie, glycerín, vosk, detergenty, latex, farba, atď)
- kozmetika a farmaceutický priemysel ( tekuté mydlo, krémy, šampóny, gély, zubná pasta, atď)
• Čerpanie
• plnenie
• vyprázdňovanie

Princíp činnosti:
Čerpacia časť je vzhľadom k otáčaniu flexibilného gumového rotora umiestnená v oválnom tele čerpadla. Zabezpečuje ustálený prietok. Tento princíp kombinuje jemné čerpanie s vysokou samonasávacou schopnosťou.
Sacie zóny medzi lopatkami vytvárajú podtlak a kvapalina prúdi do telesa čerpadla. Rotor otáča koleso a produkt tlačí zo sacieho do výtlačného hrdla. Lopatky majú asymetrický tvar kvôli čomu je objem medzi lopatkami nižší, čím dochádza k premiestňovaniu produktu. Lopatky zabezpečujú dokonalú tesnosť, preto nedochádza k úniku produktu ani vzduchu.
Riadenie:
Manuálne ovládanie je určené pre jednoduchšie stroje a technologické zariadenia, ktorých technologický proces nie je zložitý a preto nepotrebujú zložité programovanie. Jednoduché ovládanie pomocou tlačidla ON/OFF.
Výhody:
- Široké spektrum aplikácií v rôznych oblastiach
- Čerpanie kvapalín, emulzií, suspenzií, ktoré obsahujú malé častice (napr. kúsky ovocia) so zachovaním ich štruktúry
- vysoko kvalitný materiál - nerezová oceľ AISI 304, AISI 316
- Možnosť vyrobiť čerpadlo s ohrievacím plášťom
- Rýchla, jednoduchá a nenákladná údržba

- Vysoký výkon s kompaktnými rozmermi
- poskytuje hladký rovnomerný tok
- nízke náklady
- vysoká kvalita
- dlhá životnosť
- jednoduchá údržba a čistenie
Technické parametre:
|
Model |
NSO-3/0,75 |
NSO-3/1,1 |
NSO-3/1,5 |
NSO-3/2,2 |
NSO-5/1,5 |
NSO-5/2,2 |
NSO-10/5,5 |
|
Моdel s plášťom |
NSO-3/0,75P |
NSO-3/1,1P |
NSO-3/1,5P |
NSO-3/2,2P |
NSO-5/1,5P |
NSO-5/2,2P |
NSO-10/5,5P |
|
Výkon čerpadla, mЗ/h |
3 |
6 |
9 |
||||
|
Tlak, bar |
12 |
||||||
|
Výkon, kW |
0,75 |
1,1 |
1,5 |
2,2 |
1,5 |
2,2 |
5,5 |
|
Teplota, °C |
оd +5 dо +45 |
||||||
|
Тeplota kvapaliny, °С |
dо 95 |
||||||
|
Napätie, V |
220/380 |
||||||
|
Vonkajší priemer rúrky, sanie a výtlak, mm |
DN32 |
DN50 |
|||||
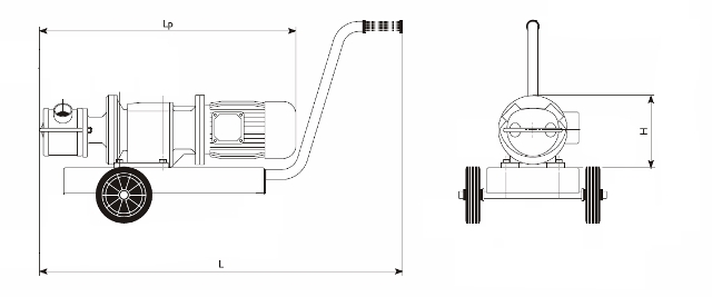
Rozmery:

| Celkové rozmery, mm | NSO-3/0,75 | NSO-3/1,1 | NSO-3/1,5 | NSO-3/2,2 | NSO-5/1,5 | NSO-5/2,2 | NSO-10/5,5 |
| L | 1030 | 1065 | 1050 | 1125 | 1145 | 1200 | 1350 |
| Lp | 640 | 675 | 688 | 770 | 770 | 850 | 730 |
| H | 184 | 184 | 202 | 202 | 210 | 255 | 416 |


































.jpg)
























.jpg)



































